685
0
0
2.競合アカウント分析
2.競合アカウント分析
ライバルアカウントをベンチマークし、フォロワー数や投稿のエンゲージメント(いいね数/コメント数)などのチェックができます。

Note
※STARTERプラン:6アカウントまで
PROFESSIONALプラン:10アカウントまで
※ベンチマークできるアカウントはプロアカウント(ビジネスアカウント)に限ります。
「閲覧」 でライバルアカウントのデータ数値やフィード投稿が確認できます。

2-1.サマリー

指定した期間内における各種データを閲覧できます。。

├ フォロワー数
指定期間内のフォロワー数推移

├ エンゲージメント率
指定期間内の投稿に対してどれくらいの反応があったかの指標

Note
※計算式=(いいね数+コメント数÷フォロワー数)
├ いいね数
指定期間内のフィード投稿についた「いいね」の総数

├ コメント数
指定期間内のフィード投稿についたコメント総数

└ 投稿数
指定期間内のフィード投稿の総数

2-2.フォロワー数推移

サマリーに表示された数値データをグラフ化したものを確認できます。
必要な項目を選択することで独自のグラフも作成できます。

2-3.フィード投稿

投稿の中から「いいね数」上位6位の投稿が表示されます。

▼でフィード投稿ごとに数値データを確認できます。

| 数値データ | |
|---|---|
| いいね数 | 投稿についたいいね数 |
| コメント数 | 投稿についたコメント数 |
「もっと見る」で「いいね数」7位以降のフィード投稿を確認できます。

Note
※収集サイクル:2時間に1回(最新50件分の投稿データを収集・更新)
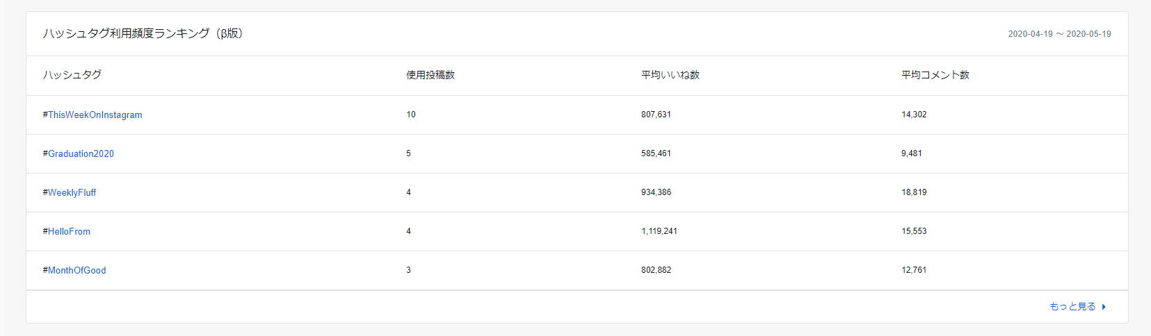
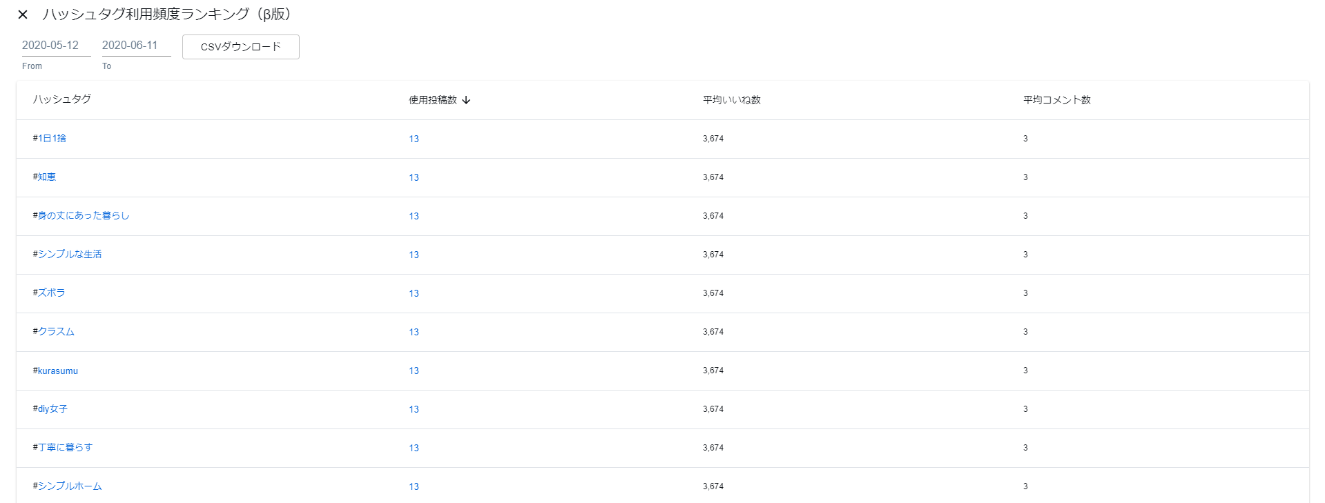
2-4.ハッシュタグ利用頻度ランキング(β版)

ベンチマークしているアカウントが投稿したハッシュタグの使用状況とデータ数値を確認できます。

| 数値データ | |
|---|---|
| 平均いいね数 | 該当ハッシュタグをつけた投稿についた平均いいね数 |
| 平均コメント数 | 該当ハッシュタグをつけた投稿についた平均コメント数 |
「もっと見る」で6位以降の使用ハッシュタグを確認できます。

Note